Datasheet IMD111T-6F040, IMD112T-6F040 (Infineon) - 5
| 制造商 | Infineon |
| 描述 | Smart driver for motor control. Motor controller with integrated high-voltage gate driver |
| 页数 / 页 | 38 / 5 — iMOTION™ IMD111T/IMD112T - Smart driver for motor control. Motor … |
| 修订版 | 01_00 |
| 文件格式/大小 | PDF / 761 Kb |
| 文件语言 | 英语 |
iMOTION™ IMD111T/IMD112T - Smart driver for motor control. Motor controller with integrated high-voltage gate driver

该数据表的模型线
文件文字版本
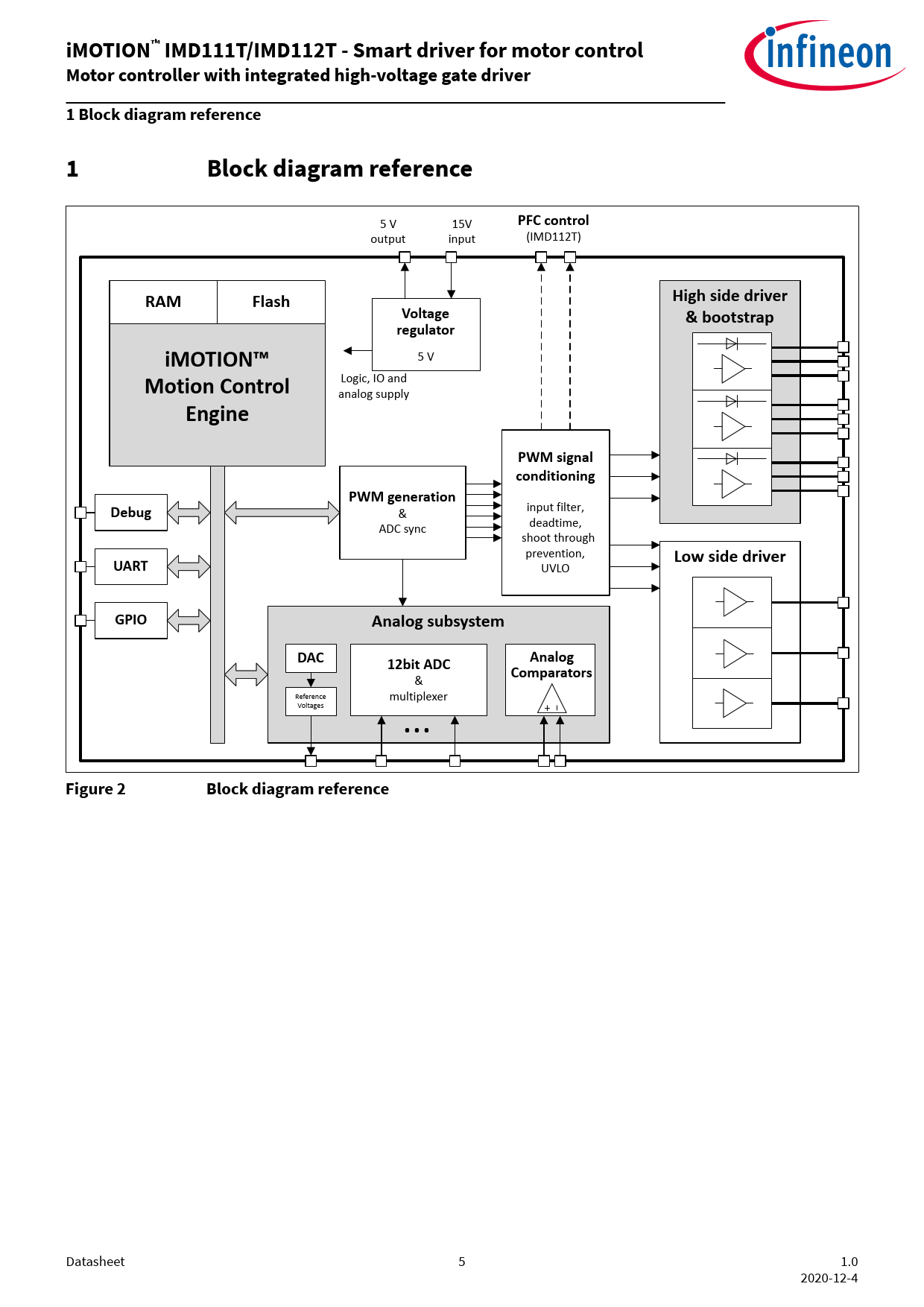
iMOTION™ IMD111T/IMD112T - Smart driver for motor control Motor controller with integrated high-voltage gate driver 1 Block diagram reference 1 Block diagram reference
5 V 15V
PFC control
output input (IMD112T)
RAM Flash High side driver Voltage & bootstrap regulator iMOTION™
5 V
Motion Control
Logic, IO and analog supply
Engine PWM signal conditioning PWM generation Debug
& input filter, ADC sync deadtime, shoot through prevention,
Low side driver UART
UVLO
GPIO Analog subsystem DAC 12bit ADC Analog Comparators
& Reference multiplexer Voltages ...
Figure 2 Block diagram reference
Datasheet 5 1.0 2020-12-4 Document Outline Features Potential applications Product validation Description Table of contents 1 Block diagram reference 2 Pin configuration 2.1 Pin definitions and functions 2.2 Pin configuration drawing IMD111T 2.3 Pin configuration drawing IMD112T 3 Functional description 3.1 Overview 3.2 Motion Control Engine 3.3 Gate Driver 3.4 Low Side Supply (VCC, VSS and COM) 3.5 High Side Supplies (VB1,2,3 and VS1,2,3) 3.6 Low and High Side Outputs (LO1,2,3 and HO1,2,3) 3.7 Internal Voltage Regulator 3.8 Application diagrams 4 Electrical characteristics and parameters 4.1 General parameters 4.1.1 Parameter Interpretation 4.1.2 Absolute maximum ratings 4.1.3 Pin Reliability in Overload 4.1.4 Operating Conditions 4.2 DC characteristics 4.2.1 Input/Output Characteristics 4.2.2 Analog to Digital Converter (ADC) 4.2.3 Analog comparator characteristics 4.2.4 Power Supply Current 4.2.5 Flash Memory Parameters 4.2.6 Static parameters gate driver 4.2.7 Static parameters voltage regulator 4.3 AC characteristics 4.3.1 Testing Waveforms 4.3.2 On-Chip Oscillator Characteristics 4.3.3 Dynamic parameters gate driver 4.3.4 Timing diagrams 4.4 Motor Control Parameters 4.4.1 PWM Characteristics 4.4.2 Current Sensing 4.4.3 Fault Timing 4.5 Power Factor Correction (PFC) parameters 4.5.1 Boost PFC characteristics 4.5.2 Totem Pole PFC characteristics 4.5.3 PFC Current Sensing 4.6 Control Interface Parameters 4.6.1 Control Input Interfaces 4.6.2 Serial Interface Parameters 4.6.2.1 UART Interface 4.6.3 Over Temperature Input 4.6.4 Pulse Output 5 Device and package specifications 5.1 Quality declaration 5.2 SBSL and Chip-IDs 5.3 Thermal considerations 5.4 Package Outline PG-LQFP-40-1 5.5 Part marking information Revision history Disclaimer