Datasheet MOC3051M, MOC3052M, MOC3053M (ON Semiconductor) - 7

制造商ON Semiconductor
描述6-Pin DIP Random-Phase Triac Driver Optocoupler (600 Volt Peak)
页数 / 页13 / 7 — MOC3051M, MOC3052M, MOC3053M. Figure 7. Basic Driver Circuit. Figure 8. …
文件格式/大小PDF / 405 Kb
文件语言英语

MOC3051M, MOC3052M, MOC3053M. Figure 7. Basic Driver Circuit. Figure 8. Triac Driver Circuit for Noisy Environments

MOC3051M, MOC3052M, MOC3053M Figure 7 Basic Driver Circuit Figure 8 Triac Driver Circuit for Noisy Environments

该数据表的模型线

文件文字版本

MOC3051M, MOC3052M, MOC3053M
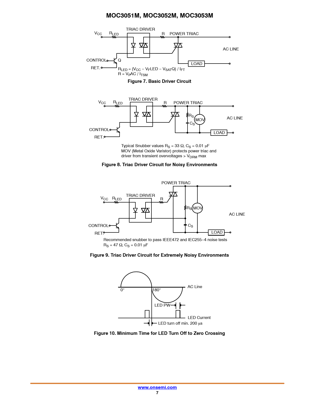
TRIAC DRIVER VCC RLED R POWER TRIAC AC LINE CONTROL Q LOAD RET. RLED = (VCC − VFLED − VSATQ) / IFT R = VPAC / ITSM
Figure 7. Basic Driver Circuit
TRIAC DRIVER VCC RLED R POWER TRIAC RS AC LINE MOV CS CONTROL LOAD RET. Typical Snubber values RS = 33 W, CS = 0.01 mF MOV (Metal Oxide Varistor) protects power triac and driver from transient overvoltages > VDRM max
Figure 8. Triac Driver Circuit for Noisy Environments
POWER TRIAC TRIAC DRIVER VCC RLED R RS MOV AC LINE CONTROL CS RET. LOAD Recommended snubber to pass IEEE472 and IEC255−4 noise tests RS = 47 W, CS = 0.01 mF
Figure 9. Triac Driver Circuit for Extremely Noisy Environments
AC Line 0° 180° LED PW LED Current LED turn off min. 200 ms
Figure 10. Minimum Time for LED Turn Off to Zero Crossing www.onsemi.com 7