Datasheet TCKE712BNL (Toshiba) - 4
| 制造商 | Toshiba |
| 描述 | 13.2 V, eFuse with Adjustable Over Current Protection |
| 页数 / 页 | 15 / 4 — Block Diagram |
| 文件格式/大小 | PDF / 632 Kb |
| 文件语言 | 英语 |
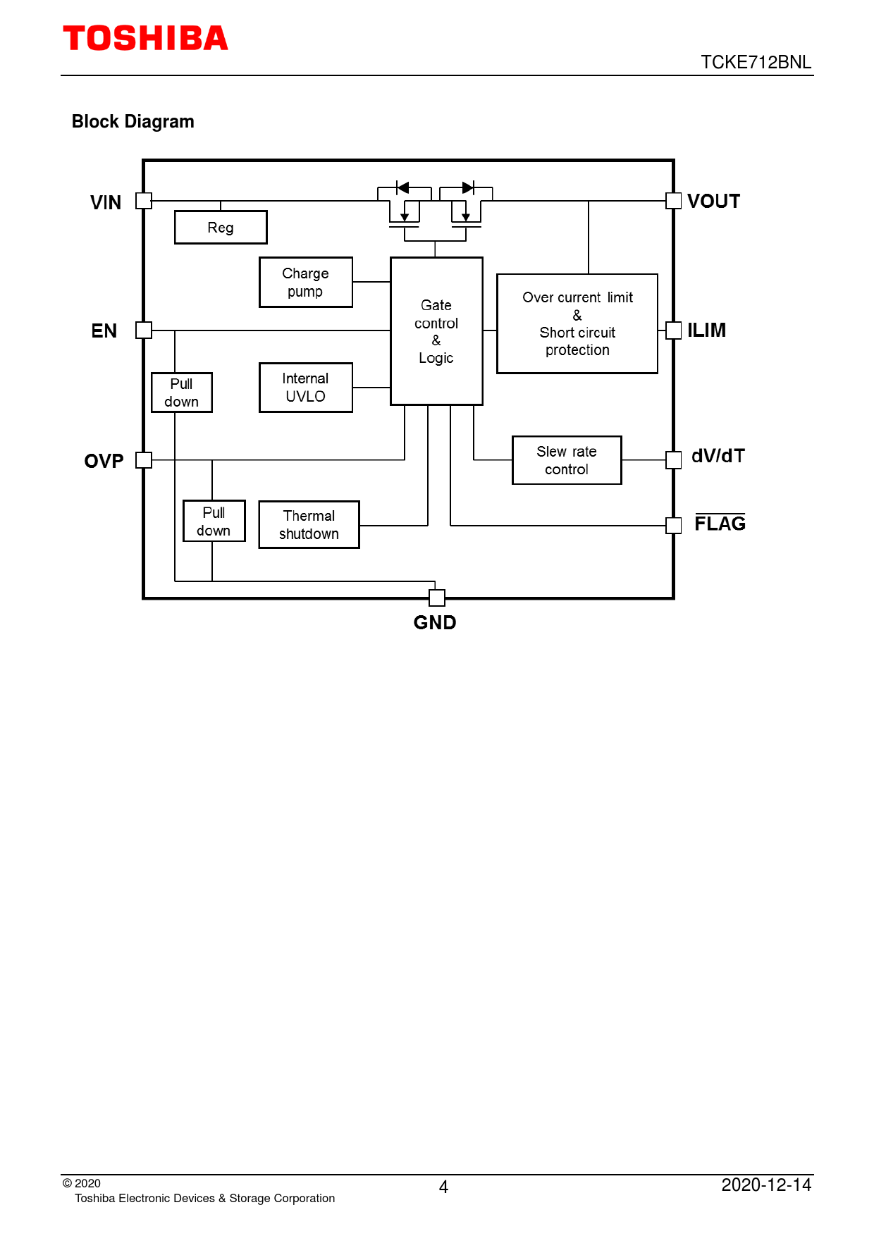
Block Diagram

该数据表的模型线
文件文字版本
TCKE712BNL
Block Diagram
© 2020 4 2020-12-14 Toshiba Electronic Devices & Storage Corporation