Datasheet LF253, LF353 (STMicroelectronics) - 9

制造商STMicroelectronics
描述Wide bandwidth dual JFET operational amplifiers
页数 / 页15 / 9 — LF253, LF353. Typical application. 5 Typical. application. Figure 21. …
修订版3.1
文件格式/大小PDF / 925 Kb
文件语言英语

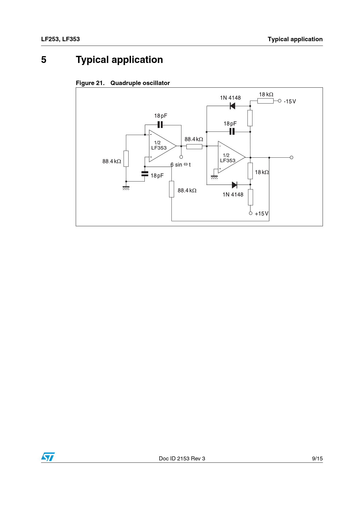
LF253, LF353. Typical application. 5 Typical. application. Figure 21. Quadruple oscillator

LF253, LF353 Typical application 5 Typical application Figure 21 Quadruple oscillator

文件文字版本

LF253, LF353 Typical application 5 Typical application Figure 21. Quadruple oscillator
Doc ID 2153 Rev 3 9/15 Document Outline 1 Schematics Figure 1. Schematic diagram (each amplifier) 2 Absolute maximum ratings and operating conditions Table 1. Absolute maximum ratings Table 2. Operating conditions 3 Electrical characteristics Table 3. Electrical characteristics at VCC = ±15 V, Tamb = +25˚C (unless otherwise specified) Figure 2. Maximum peak-to-peak output voltage vs. frequency, RL = 2 kW Figure 3. Maximum peak-to-peak output voltage vs. frequency, RL = 10 kW Figure 4. Maximum peak-to-peak output voltage versus frequency Figure 5. Maximum peak-to-peak output voltage versus free air temperature Figure 6. Maximum peak-to-peak output voltage versus load resistance Figure 7. Maximum peak-to-peak output voltage versus supply voltage Figure 8. Input bias current versus free air temperature Figure 9. Large signal differential voltage amplification versus free air temp. Figure 10. Large signal differential voltage amplification and phase shift versus frequency Figure 11. Total power dissipation versus free air temperature Figure 12. Supply current per amplifier versus free air temperature Figure 13. Supply current per amplifier versus supply voltage Figure 14. Common mode rejection ratio versus free air temperature Figure 15. Voltage follower large signal pulse response Figure 16. Output voltage versus elapsed time Figure 17. Equivalent input noise voltage versus frequency Figure 18. Total harmonic distortion versus frequency 4 Parameter measurement information Figure 19. Voltage follower Figure 20. Gain of 10 inverting amplifier 5 Typical application Figure 21. Quadruple oscillator 6 Package information 6.1 DIP8 package information Figure 22. DIP8 package mechanical drawing Table 4. DIP8 package mechanical data 6.2 SO-8 package information Figure 23. SO-8 package mechanical drawing Table 5. SO-8 package mechanical data 7 Ordering information Table 6. Order codes 8 Revision history Table 7. Document revision history