Datasheet LM185-1.2, LM285-1.2, LM385-1.2 (Texas Instruments) - 8
| 制造商 | Texas Instruments |
| 描述 | Micropower Voltage Reference Diode |
| 页数 / 页 | 28 / 8 — LM185-1.2-N,. LM285-1.2-N. , LM385-1.2-N. www.ti.com. METER THERMOMETERS. … |
| 修订版 | E |
| 文件格式/大小 | PDF / 1.5 Mb |
| 文件语言 | 英语 |
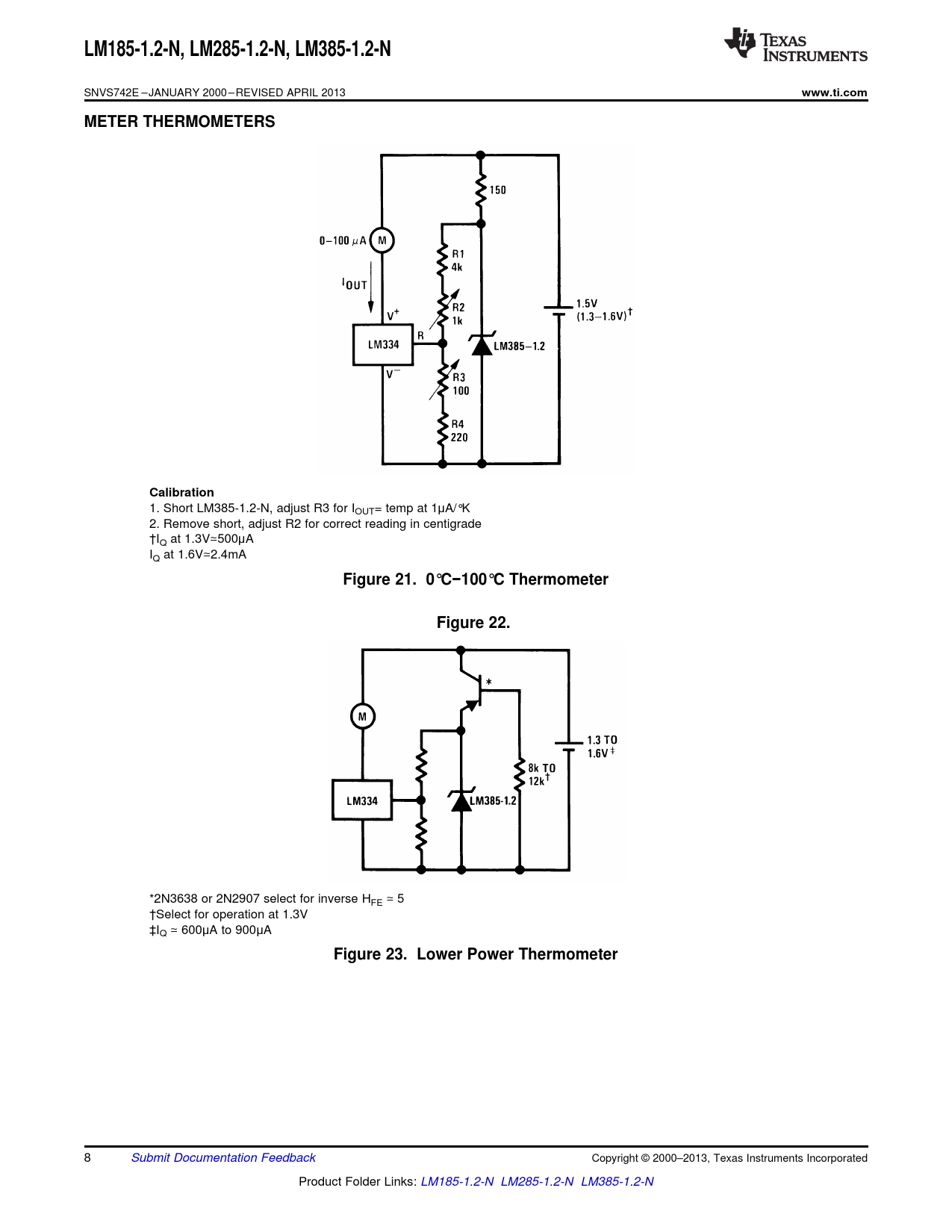
LM185-1.2-N,. LM285-1.2-N. , LM385-1.2-N. www.ti.com. METER THERMOMETERS. Calibration. Figure 21. 0°C−100°C Thermometer. Figure 22

该数据表的模型线
文件文字版本
LM185-1.2-N, LM285-1.2-N , LM385-1.2-N
SNVS742E – JANUARY 2000 – REVISED APRIL 2013
www.ti.com METER THERMOMETERS Calibration
1. Short LM385-1.2-N, adjust R3 for IOUT= temp at 1μA/°K 2. Remove short, adjust R2 for correct reading in centigrade †IQ at 1.3V≃500μA IQ at 1.6V≃2.4mA
Figure 21. 0°C−100°C Thermometer Figure 22.
*2N3638 or 2N2907 select for inverse HFE ≃ 5 †Select for operation at 1.3V ‡IQ ≃ 600μA to 900μA
Figure 23. Lower Power Thermometer
8 Submit Documentation Feedback Copyright © 2000–2013, Texas Instruments Incorporated Product Folder Links: LM185-1.2-N LM285-1.2-N LM385-1.2-N Document Outline FEATURES DESCRIPTION CONNECTION DIAGRAM ABSOLUTE MAXIMUM RATINGS ELECTRICAL CHARACTERISTICS THERMAL CHARACTERISTICS TYPICAL PERFORMANCE CHARACTERISTICS TYPICAL APPLICATIONS METER THERMOMETERS SCHEMATIC DIAGRAM Revision History