Datasheet OP400 (Analog Devices) - 10

制造商Analog Devices
描述Low Offset, Low Power Quad Op Amp
页数 / 页16 / 10 — OP400. Data Sheet. 10k. DD – V OH. E ( G A T L. VOL – V SS. IO T A R U T …
修订版I
文件格式/大小PDF / 342 Kb
文件语言英语

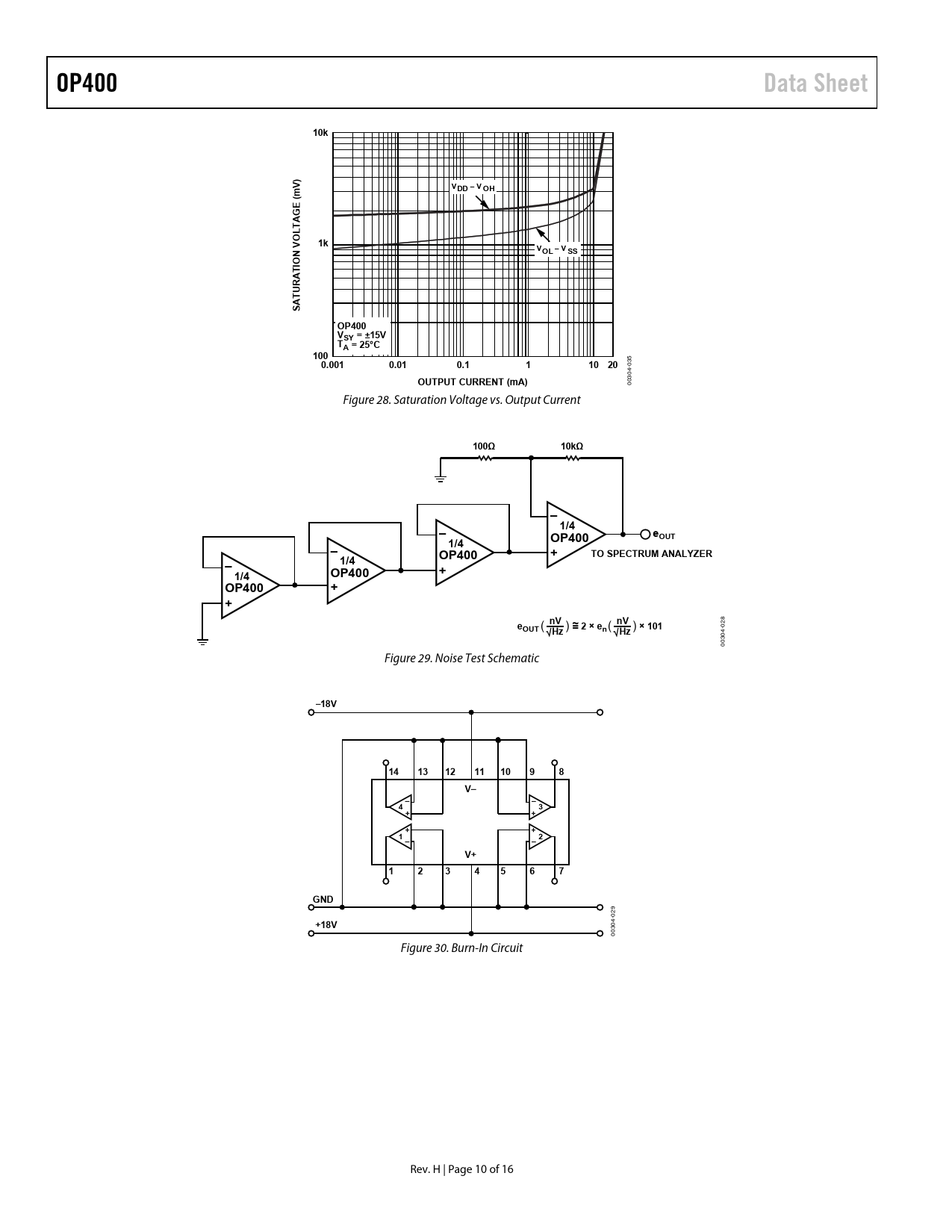
OP400. Data Sheet. 10k. DD – V OH. E ( G A T L. VOL – V SS. IO T A R U T SA. VSY = ±15V. TA = 25°C. 100. 0.001. 0.01. 0.1. 10 20

OP400 Data Sheet 10k DD – V OH E ( G A T L VOL – V SS IO T A R U T SA VSY = ±15V TA = 25°C 100 0.001 0.01 0.1 10 20

该数据表的模型线

文件文字版本

OP400 Data Sheet 10k V) V m DD – V OH E ( G A T L VO 1k N VOL – V SS IO T A R U T SA OP400 VSY = ±15V TA = 25°C 100
35 0
0.001 0.01 0.1 1 10 20
4- 30
OUTPUT CURRENT (mA)
00 Figure 28. Saturation Voltage vs. Output Current
100Ω 10kΩ 1/4 eOUT 1/4 OP400 + TO SPECTRUM ANALYZER OP400 1/4 1/4 OP400 + OP400 + + nV nV
28
~
0
eOUT
( )
= 2 × en
( )
× 101
4-
Hz Hz
30 00 Figure 29. Noise Test Schematic
–18V 14 13 12 11 10 9 8 V– 4 3 + + + + 1 – – 2 V+ 1 2 3 4 5 6 7 GND
29 0
+18V
4- 30 00 Figure 30. Burn-In Circuit Rev. H | Page 10 of 16 Document Outline Features General Description Revision History Specifications Electrical Characteristics Absolute Maximum Ratings Thermal Resistance ESD Caution Typical Performance Characteristics Applications Dual Low Power Instrumentation Amplifier Bipolar Current Transmitter Differential Output Instrumentation Amplifier Multiple Output Tracking Voltage Reference Outline Dimensions Ordering Guide SMD Parts and Equivalents