Datasheet TLP5814H (Toshiba) - 8
| 制造商 | Toshiba |
| 描述 | Photocoupler |
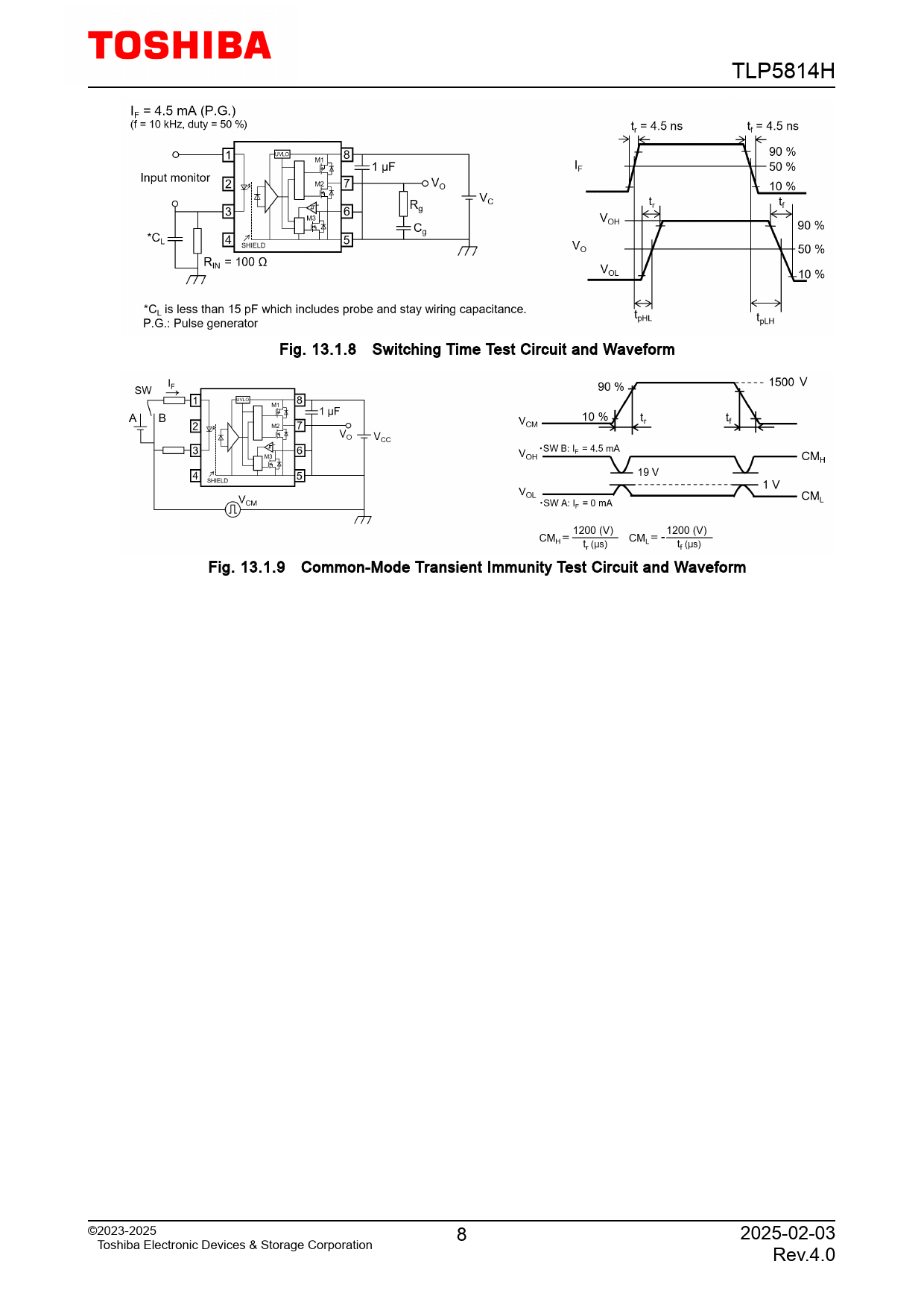
| 页数 / 页 | 21 / 8 — TLP5814H. Fig. 13.1.8. Switching. Time. Test. Circuit. and. Waveform. … |
| 文件格式/大小 | PDF / 4.2 Mb |
| 文件语言 | 英语 |
TLP5814H. Fig. 13.1.8. Switching. Time. Test. Circuit. and. Waveform. Fig. 13.1.9. Common-Mode. Transient. Immunity. Test. Circuit. and. Waveform

该数据表的模型线
文件文字版本
TLP5814H Fig. 13.1.8 Switching Time Test Circuit and Waveform Fig. 13.1.9 Common-Mode Transient Immunity Test Circuit and Waveform ©2023-2025 8 2025-02-03 Toshiba Electronic Devices & Storage Corporation Rev.4.0