数据表
更多
Only-Datasheet.com
关于我们
合作
广告
联络人
en - English
ru - Русский
de - Deutsch
es - Espanol
搜索
数据表
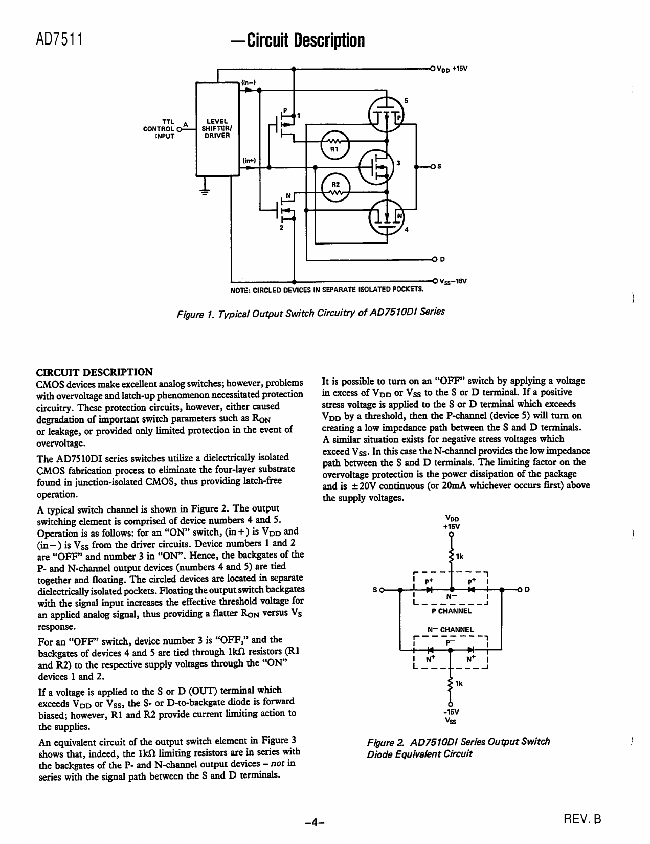
Datasheet AD7511 (Analog Devices)
Datasheet AD7511 (Analog Devices) - 4
制造商
Analog Devices
描述
DI CMOS Protected Analog Switches
页数 / 页
10
/
4
— AD7511
修订版
B
文件格式/大小
PDF
/
2.3 Mb
文件语言
英语
AD7511
1
...
3
4
5
...
10
下载 PDF
1
...
3
4
5
...
10
该数据表的模型线
AD7511
AD7511DIKNZ
文件文字版本
AD7511
REV. B
联络人
隐私政策
更改隐私设置