Datasheet AD9375 (Analog Devices) - 3
| 制造商 | Analog Devices |
| 描述 | Integrated, Dual RF Transceiver with Observation Path |
| 页数 / 页 | 61 / 3 — Data Sheet. AD9375. FUNCTIONAL BLOCK DIAGRAM. RX1+. Rx1. DECIMATION,. … |
| 文件格式/大小 | PDF / 866 Kb |
| 文件语言 | 英语 |
Data Sheet. AD9375. FUNCTIONAL BLOCK DIAGRAM. RX1+. Rx1. DECIMATION,. RX1–. LPF. Rx2. pFIR, AGC,. DC OFFSET. RX2+. ADC. QEC,. JESD204B. TUNING,. RX2–

该数据表的模型线
文件文字版本
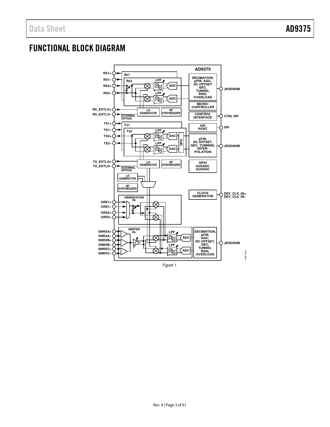
Data Sheet AD9375 FUNCTIONAL BLOCK DIAGRAM AD9375 RX1+ Rx1 DECIMATION, RX1– LPF Rx2 pFIR, AGC, DC OFFSET RX2+ ADC QEC, JESD204B TUNING, RX2– LPF RSSI, ADC OVERLOAD MICRO- CONTROLLER RX_EXTLO+ LO RF RX_EXTLO– GENERATOR SYNTHESIZER CONTROL EXTERNAL CTRL INT INTERFACE OPTION TX1+ Tx1 SPI SPI PORT TX1– LPF Tx2 TX2+ DAC pFIR, D TX2– LPF DC OFFSET, DP QEC, TUNNING, JESD204B DAC INTER- POLATION TX_EXTLO+ LO RF GPIO TX_EXTLO– GENERATOR SYNTHESIZER AUXADC EXTERNAL AUXDAC OPTION LO GENERATOR RF SYNTHESIZER CLOCK DEV_CLK_IN+, GENERATOR OBSERVATION DEV_CLK_IN– Rx ORX1+ ORX1– ORX2+ ORX2– SNIFFER SNRXA+ Rx LPF DECIMATION, SNRXA– pFIR, ADC AGC, SNRXB+ DC OFFSET, JESD204B SNRXB– LPF QEC, SNRXC+ TUNING, ADC RSSI, SNRXC–
001
OVERLOAD
15657- Figure 1. Rev. 0 | Page 3 of 61 Document Outline Features Applications General Description Revision History Functional Block Diagram Specifications Current and Power Consumption Specifications Timing Specifications Timing Diagrams Absolute Maximum Ratings Reflow Profile Thermal Resistance ESD Caution Pin Configuration and Function Descriptions Typical Performance Characteristics 700 MHz Band 2.6 GHz Band 3.5 GHz Band 5.5 GHz Band Theory of Operation Transmitter (Tx) Receiver (Rx) Observation Receiver (ORx) Sniffer Receiver (SnRx) Clock Input Synthesizers RF PLL Clock PLL Serial Peripheral Interface (SPI) GPIO_x AND GPIO_3P3_x Pins Auxiliary Converters Auxiliary ADC Inputs (AUXADC_x) Auxiliary DACs (AUXDAC_x) JESD204B Data Interface Power Supply Sequence Digital Predistortion (DPD) JTAG Boundary Scan Outline Dimensions Ordering Guide