Datasheet LTM4643 (Analog Devices) - 8
| 制造商 | Analog Devices |
| 描述 | Ultrathin Quad μModule Regulator with Configurable 3A Output Array |
| 页数 / 页 | 32 / 8 — BLOCK DIAGRAM |
| 修订版 | D |
| 文件格式/大小 | PDF / 2.3 Mb |
| 文件语言 | 英语 |
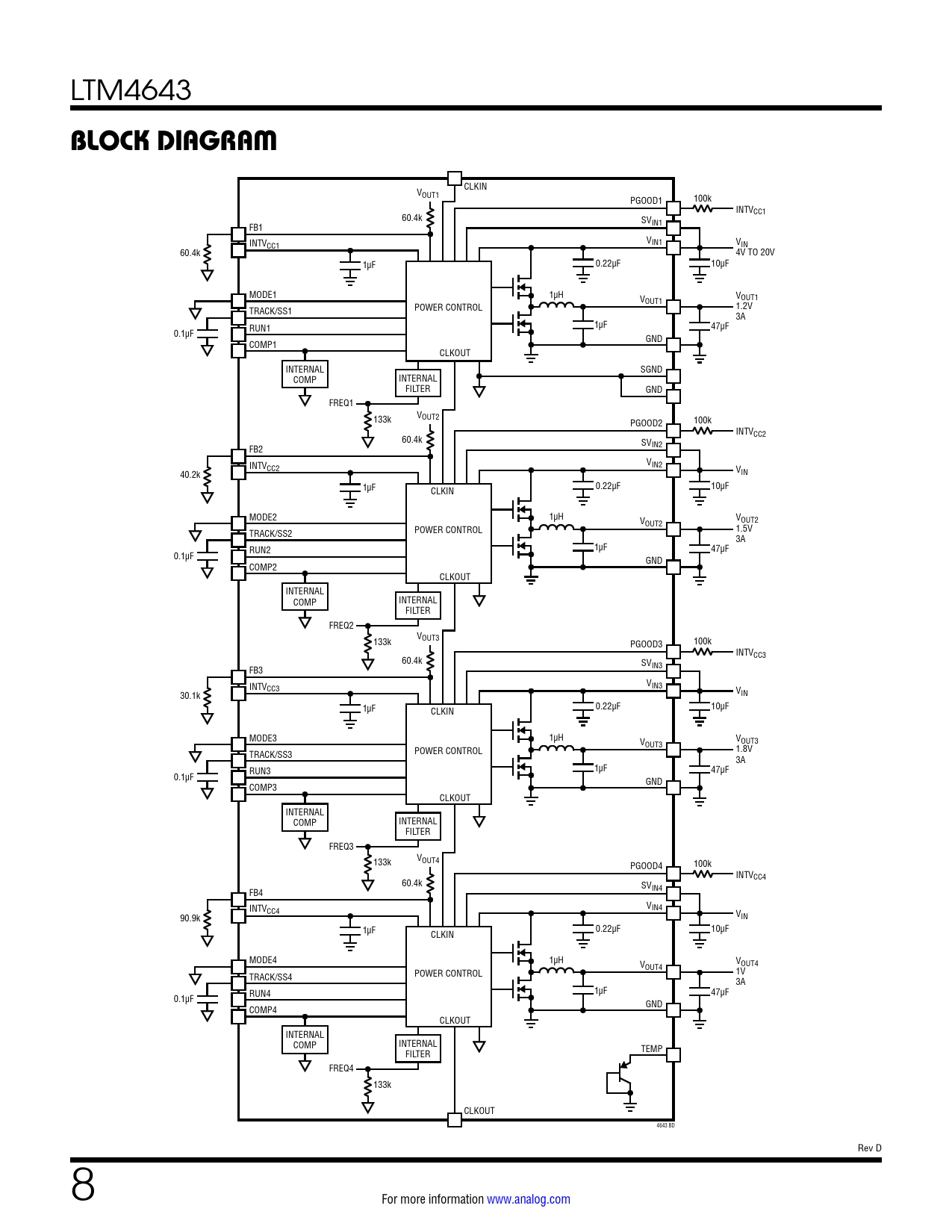
BLOCK DIAGRAM

该数据表的模型线
文件文字版本
LTM4643
BLOCK DIAGRAM
CLKIN VOUT1 100k PGOOD1 INTVCC1 60.4k SV FB1 IN1 INTV V CC1 IN1 VIN 60.4k 4V TO 20V 1µF 0.22µF 10µF MODE1 1µH V V OUT1 OUT1 POWER CONTROL TRACK/SS1 1.2V 3A RUN1 1µF 47µF 0.1µF GND COMP1 CLKOUT INTERNAL SGND COMP INTERNAL FILTER GND FREQ1 133k VOUT2 100k PGOOD2 INTVCC2 60.4k SV FB2 IN2 INTV V CC2 IN2 40.2k VIN 1µF 0.22µF 10µF CLKIN MODE2 1µH V V OUT2 OUT2 POWER CONTROL TRACK/SS2 1.5V 3A RUN2 1µF 47µF 0.1µF GND COMP2 CLKOUT INTERNAL COMP INTERNAL FILTER FREQ2 V 133k OUT3 100k PGOOD3 INTVCC3 60.4k SV FB3 IN3 INTV V CC3 IN3 30.1k VIN 1µF 0.22µF 10µF CLKIN MODE3 1µH V V OUT3 OUT3 POWER CONTROL TRACK/SS3 1.8V 3A RUN3 1µF 47µF 0.1µF GND COMP3 CLKOUT INTERNAL COMP INTERNAL FILTER FREQ3 133k VOUT4 100k PGOOD4 INTVCC4 60.4k SV FB4 IN4 INTV V CC4 IN4 90.9k VIN 1µF 0.22µF 10µF CLKIN MODE4 1µH V V OUT4 OUT4 POWER CONTROL TRACK/SS4 1V 3A RUN4 1µF 47µF 0.1µF GND COMP4 CLKOUT INTERNAL COMP INTERNAL FILTER TEMP FREQ4 133k CLKOUT 4643 BD Rev D 8 For more information www.analog.com Document Outline Features Applications Description Typical Application Absolute Maximum Ratings Pin Configuration Order Information Electrical Characteristics Typical Performance Characteristics Pin Functions Block Diagram Decoupling Requirements Operation Applications Information Typical Applications Package Description Package Photo Related Parts