Datasheet U2008B (Atmel) - 2

制造商Atmel
描述Low-cost Phase-control IC with Soft Start
页数 / 页15 / 2 — Figure 1-2. Atmel. U2008B. Atmel U2008B
文件格式/大小PDF / 734 Kb
文件语言英语

Figure 1-2. Atmel. U2008B. Atmel U2008B

Figure 1-2 Atmel U2008B Atmel U2008B

该数据表的模型线

文件文字版本

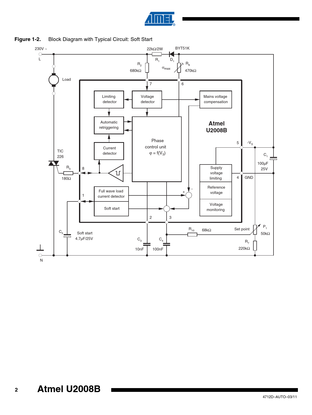
Figure 1-2.
Block Diagram with Typical Circuit: Soft Start 230V ~ 22kΩ/2W BYT51K L R D 1 1 R R 2 8 αmax 680kΩ 470kΩ Load 7 6 Limiting Voltage Mains voltage detector detector compensation Automatic
Atmel
retriggering
U2008B
Phase 5 -VS Current control unit TIC detector ϕ = f(V3) C 226 1 100µF R3 8 Supply 25V voltage 180Ω limiting 4 GND Reference - Full wave load + voltage 1 current detector Voltage Soft start monitoring 2 3 P1 R10 68kΩ Set point C5 Soft start 50kΩ 4.7µF/25V C C 3 4 R7 10nF 100nF 220kΩ N
2 Atmel U2008B
4712D–AUTO–03/11 Document Outline Features Applications 1. Description 2. Pin Configuration 2.1 Mains Supply, Pin 5 2.2 Voltage Monitoring 2.3 Phase Control, Pin 6 2.4 Automatic Retriggering 2.5 Current Synchronization, Pin 8 2.6 Voltage Synchronization with Mains Voltage Compensation, Pin 7 2.7 Load Current Detection, Pin 1 3. Absolute Maximum Ratings 4. Thermal Resistance 5. Electrical Characteristics 6. Ordering Information 7. Package Information 8. Revision History