Datasheet ADXL375 (Analog Devices) - 9
| 制造商 | Analog Devices |
| 描述 | 3-Axis, ±200 g Digital MEMS Accelerometer |
| 页数 / 页 | 10 / 9 — VS VDD I/O. POWER. MANAGEMENT. CONTROL. INT1. SENSE. ADC. AND. … |
| 文件格式/大小 | PDF / 174 Kb |
| 文件语言 | 英语 |
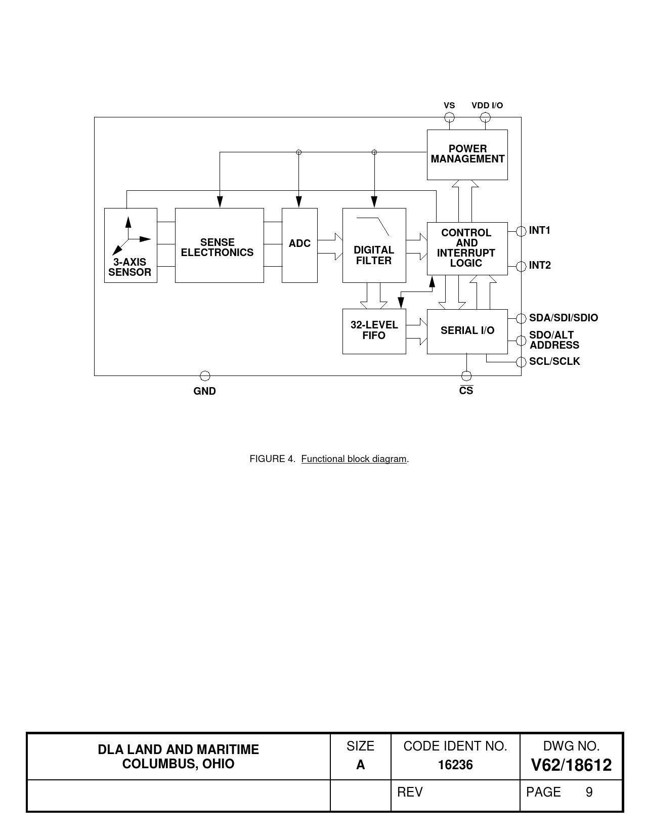
VS VDD I/O. POWER. MANAGEMENT. CONTROL. INT1. SENSE. ADC. AND. ELECTRONICS. DIGITAL. INTERRUPT. 3-AXIS. FILTER. LOGIC. INT2. SENSOR. SDA/SDI/SDIO

该数据表的模型线
文件文字版本
VS VDD I/O POWER MANAGEMENT CONTROL INT1 SENSE ADC AND ELECTRONICS DIGITAL INTERRUPT 3-AXIS FILTER LOGIC INT2 SENSOR SDA/SDI/SDIO 32-LEVEL SERIAL I/O FIFO SDO/ALT ADDRESS SCL/SCLK GND CS
FIGURE 4. Functional block diagram.
DLA LAND AND MARITIME
SIZE CODE IDENT NO. DWG NO.
COLUMBUS, OHIO A 16236 V62/18612
REV PAGE 9 Document Outline DESCRIPTION REV REV PMIC N/A TITLE SIZE A V62/18612 REV