Datasheet MB85AS8MT (Fujitsu) - 6

制造商Fujitsu
描述Memory ReRAM 8M (1024 K x 8) Bit SPI
页数 / 页31 / 6 — MB85AS8MT. SERIAL PERIPHERAL INTERFACE (SPI). System Configuration with …
文件格式/大小PDF / 1.6 Mb
文件语言英语

MB85AS8MT. SERIAL PERIPHERAL INTERFACE (SPI). System Configuration with SPI Port. System Configuration without SPI Port

MB85AS8MT SERIAL PERIPHERAL INTERFACE (SPI) System Configuration with SPI Port System Configuration without SPI Port

该数据表的模型线

文件文字版本

MB85AS8MT

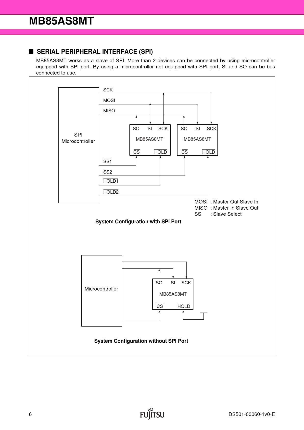
SERIAL PERIPHERAL INTERFACE (SPI)
MB85AS8MT works as a slave of SPI. More than 2 devices can be connected by using microcontroller equipped with SPI port. By using a microcontroller not equipped with SPI port, SI and SO can be bus connected to use. SCK MOSI MISO SO SI SCK SO SI SCK SPI MB85AS8MT MB85AS8MT Microcontroller CS HOLD CS HOLD SS1 SS2 HOLD1 HOLD2 MOSI : Master Out Slave In MISO : Master In Slave Out SS : Slave Select
System Configuration with SPI Port
SO SI SCK Microcontroller MB85AS8MT CS HOLD
System Configuration without SPI Port
6 DS501-00060-1v0-E Document Outline DESCRIPTION FEATURES PIN ASSIGNMENT PIN FUNCTIONAL DESCRIPTIONS BLOCK DIAGRAM SPI MODE SERIAL PERIPHERAL INTERFACE (SPI) STATUS REGISTER OP-CODE COMMAND WRITING OPERATION OF NONVOLATILE MEMORY 1. Address counter control 2. WIP polling BLOCK PROTECT WRITING PROTECT HOLD OPERATION (available only for SOP package) ABSOLUTE MAXIMUM RATINGS RECOMMENDED OPERATING CONDITIONS ELECTRICAL CHARACTERISTICS 1. DC Characteristics 2. AC Characteristics 3. Pin Capacitance TIMING DIAGRAM POWER ON/OFF SEQUENCE ReRAM CHARACTERISTICS ESD AND LATCH-UP MB85AS8MTPF (8-pin plastic SOP) REFLOW CONDITIONS AND FLOOR LIFE CURRENT STATUS ON CONTAINED RESTRICTED SUBSTANCES ORDERING INFORMATION PACKAGE DIMENSION MARKING (11-pin WLP) MARKING (8-pin SOP) PACKING FIGURE 1. Emboss carrier tape and package direction of storage 2. Reel EMBOSS CARRIER TAPE DRAWING