Datasheet C3M0016120K (Wolfspeed) - 10
| 制造商 | Wolfspeed |
| 描述 | Silicon Carbide Power MOSFET C3M Planar MOSFET Technology N-Channel Enhancement Mode |
| 页数 / 页 | 12 / 10 — Package Dimensions |
| 文件格式/大小 | PDF / 1.1 Mb |
| 文件语言 | 英语 |
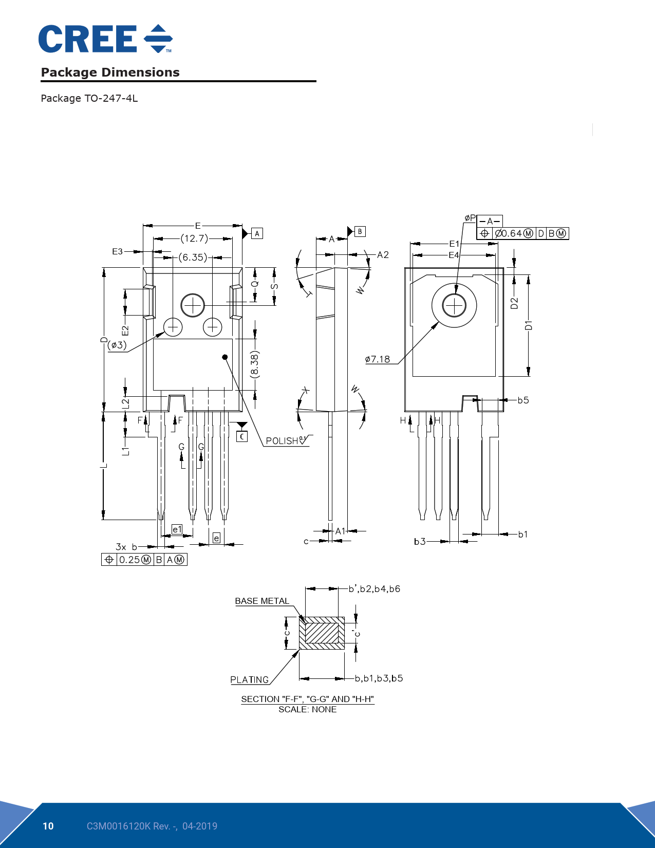
Package Dimensions

该数据表的模型线
文件文字版本
Package Dimensions
Package TO-247-4L E E1 E3 E4 E2 BASE METAL SECTION "F-F", "G-G" AND "H-H" SCALE: NONE
10
C3M0016120K Rev. -, 04-2019