Datasheet 7UL1G126FS (Toshiba) - 9
| 制造商 | Toshiba |
| 描述 | Single Bus Buffer (3-State). L-MOS LVP series |
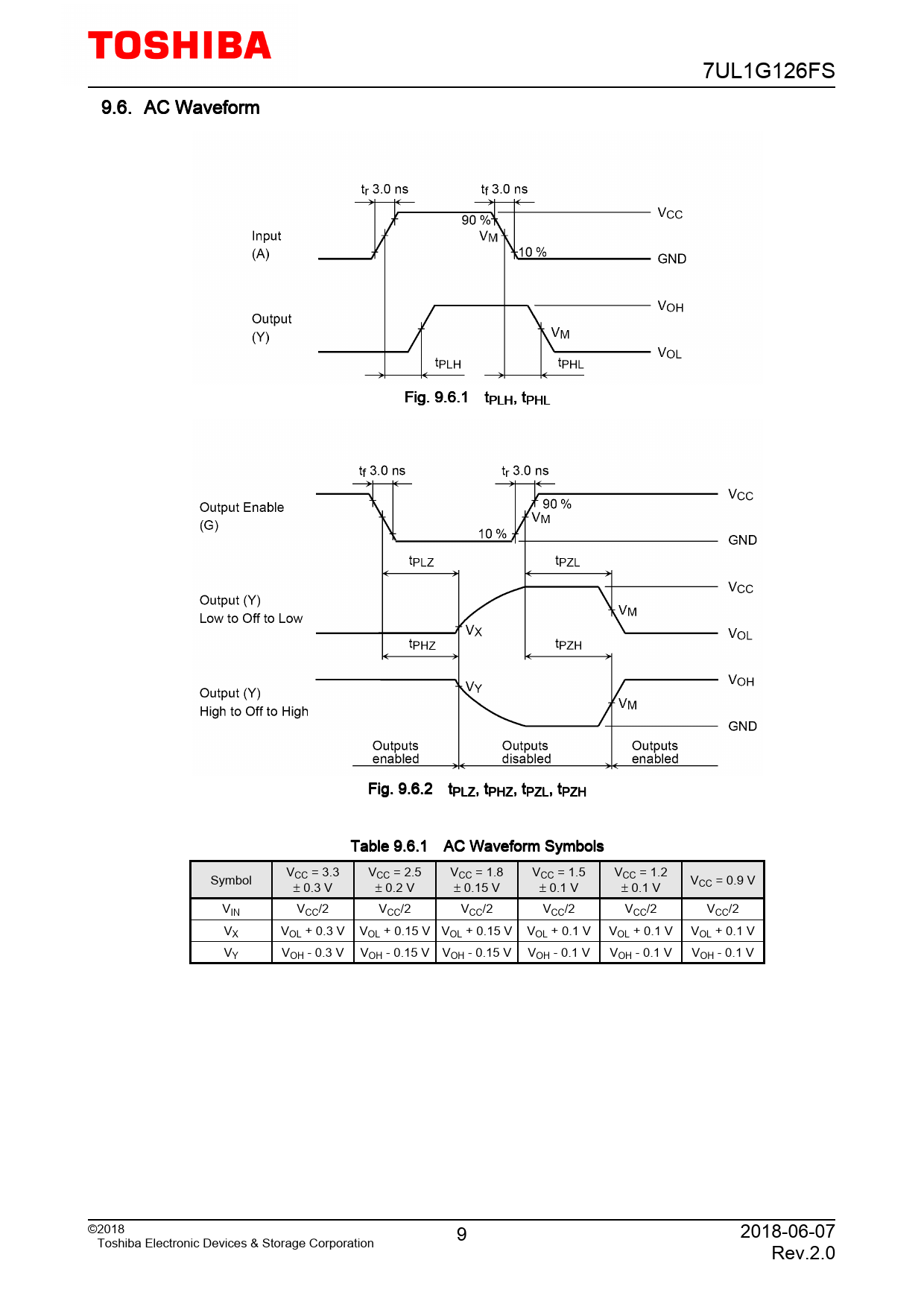
| 页数 / 页 | 11 / 9 — 7UL1G126FS. 9.6. AC. Waveform. Fig. 9.6.1. tPLH,. tPHL. Fig. 9.6.2. … |
| 文件格式/大小 | PDF / 194 Kb |
| 文件语言 | 英语 |
7UL1G126FS. 9.6. AC. Waveform. Fig. 9.6.1. tPLH,. tPHL. Fig. 9.6.2. tPLZ,. tPHZ,. tPZL,. tPZH. Table. 9.6.1. AC. Waveform. Symbols. VCC. =. 3.3. VCC. =. 2.5. VCC. =. 1.8. VCC. =

该数据表的模型线
文件文字版本
7UL1G126FS 9.6. AC Waveform Fig. 9.6.1 tPLH, tPHL Fig. 9.6.2 tPLZ, tPHZ, tPZL, tPZH Table 9.6.1 AC Waveform Symbols VCC = 3.3 VCC = 2.5 VCC = 1.8 VCC = 1.5 VCC = 1.2 Symbol VCC = 0.9 V ± 0.3 V ± 0.2 V ± 0.15 V ± 0.1 V ± 0.1 V VIN VCC/2 VCC/2 VCC/2 VCC/2 VCC/2 VCC/2 VX VOL + 0.3 V VOL + 0.15 V VOL + 0.15 V VOL + 0.1 V VOL + 0.1 V VOL + 0.1 V VY VOH - 0.3 V VOH - 0.15 V VOH - 0.15 V VOH - 0.1 V VOH - 0.1 V VOH - 0.1 V ©2018 9 2018-06-07 Toshiba Electronic Devices & Storage Corporation Rev.2.0