Datasheet Si8941/46/47 (Silicon Labs) - 10
| 制造商 | Silicon Labs |
| 描述 | Isolated Delta-Sigma Modulator for Current Shunt Measurement |
| 页数 / 页 | 35 / 10 — Figure 4.1. Si8941 Clock Input. Figure 4.2. Si8946/47 Clock Output |
| 修订版 | 0.5 |
| 文件格式/大小 | PDF / 542 Kb |
| 文件语言 | 英语 |
Figure 4.1. Si8941 Clock Input. Figure 4.2. Si8946/47 Clock Output

该数据表的模型线
文件文字版本
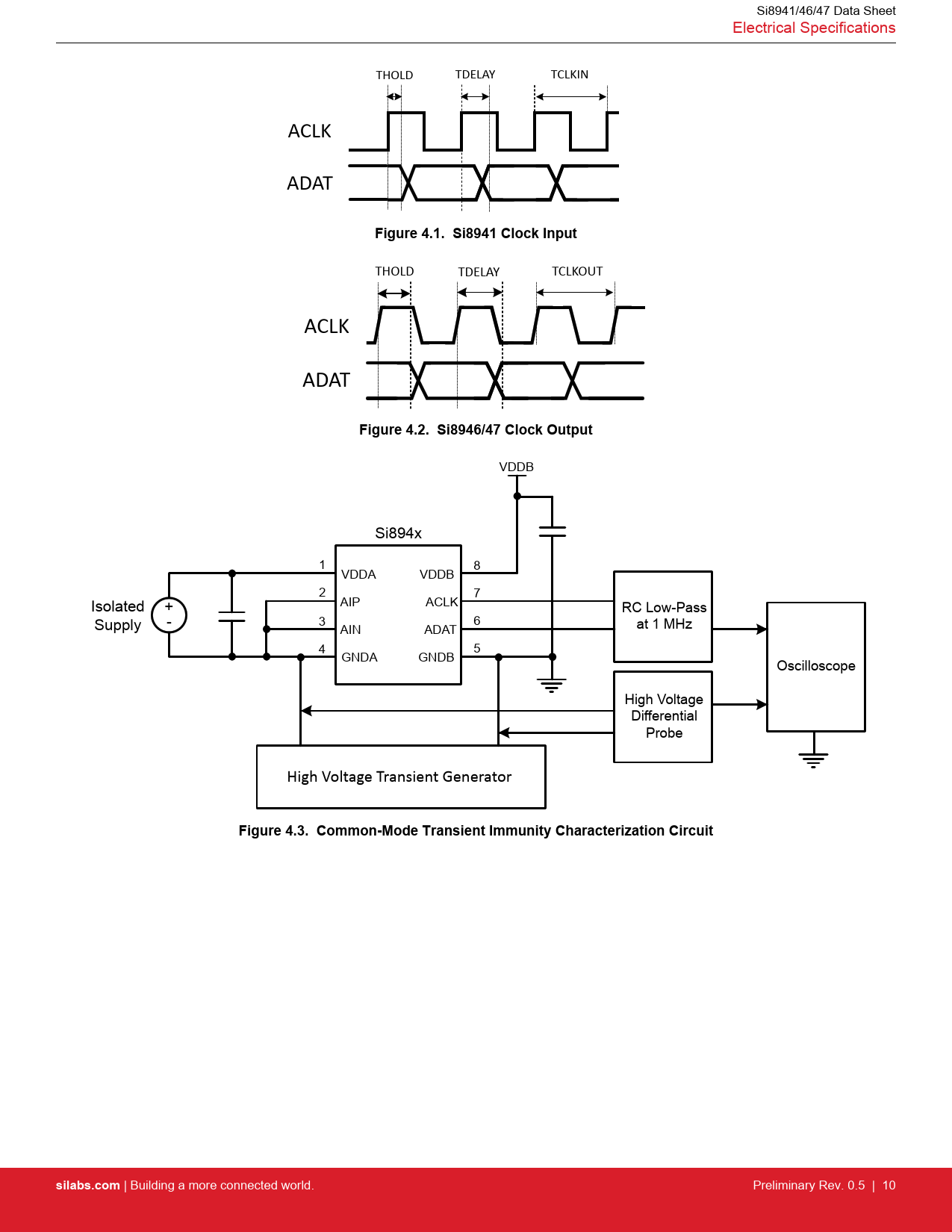
Si8941/46/47 Data Sheet Electrical Specifications THOLD TDELAY TCLKIN ACLK ADAT
Figure 4.1. Si8941 Clock Input
THOLD TDELAY TCLKOUT ACLK ADAT
Figure 4.2. Si8946/47 Clock Output
VDDB Si894x 1 8 VDDA VDDB 2 7 AIP ACLK Isolated + RC Low-Pass - 3 6 Supply AIN ADAT at 1 MHz 4 5 GNDA GNDB Oscilloscope High Voltage Differential Probe High Voltage Transient Generator
Figure 4.3. Common-Mode Transient Immunity Characterization Circuit silabs.com
| Building a more connected world. Preliminary Rev. 0.5 | 10 Document Outline 1. Ordering Guide 2. System Overview 2.1 Modulator 3. Current Sense Application 4. Electrical Specifications 4.1 Regulatory Information 4.2 Typical Operating Characteristics 5. Pin Descriptions 6. Packaging 6.1 Package Outline: 8-Pin Wide Body Stretched SOIC 6.2 Package Outline: 8-Pin Narrow Body SOIC 6.3 Land Pattern: 8-Pin Wide Body Stretched SOIC 6.4 Land Pattern: 8-Pin Narrow Body SOIC 6.5 Top Marking: 8-Pin Wide Body Stretched SOIC 6.6 Top Marking: 8-Pin Narrow Body SOIC 7. Revision History