Datasheet Si8921/22 (Silicon Labs) - 8
| 制造商 | Silicon Labs |
| 描述 | Isolated Amplifier for Current Shunt Measurement |
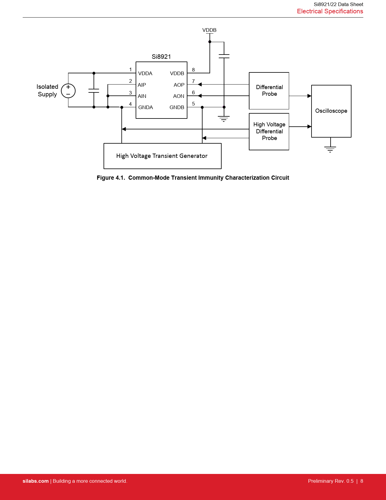
| 页数 / 页 | 30 / 8 — Figure 4.1. Common-Mode Transient Immunity Characterization Circuit. … |
| 修订版 | 0.5 |
| 文件格式/大小 | PDF / 548 Kb |
| 文件语言 | 英语 |
Figure 4.1. Common-Mode Transient Immunity Characterization Circuit. silabs.com

该数据表的模型线
文件文字版本
Si8921/22 Data Sheet Electrical Specifications VDDB Si8921 1 8 VDDA VDDB 2 7 AIP AOP Isolated + Differential _ 3 6 Supply AIN AON Probe 4 5 GNDA GNDB Oscilloscope High Voltage Differential Probe High Voltage Transient Generator
Figure 4.1. Common-Mode Transient Immunity Characterization Circuit silabs.com
| Building a more connected world. Preliminary Rev. 0.5 | 8 Document Outline 1. Ordering Guide 2. System Overview 3. Current Sense Application 4. Electrical Specifications 4.1 Regulatory Information 4.2 Typical Operating Characteristics 5. Pin Descriptions 5.1 Si8921 Pin Descriptions 5.2 Si8922 Pin Descriptions 6. Packaging 6.1 Package Outline: 8-Pin Wide Body Stretched SOIC 6.2 Package Outline: 8-Pin Narrow Body SOIC 6.3 Land Pattern: 8-Pin Wide Body Stretched SOIC 6.4 Land Pattern: 8-Pin Narrow Body SOIC 6.5 Top Marking: 8-Pin Wide Body Stretched SOIC 6.6 Top Marking: 8-Pin Narrow Body SOIC 7. Revision History