数据表
更多
Only-Datasheet.com
关于我们
合作
广告
联络人
en - English
ru - Русский
de - Deutsch
es - Espanol
搜索
数据表
Datasheet LTC1408 (Analog Devices)
Datasheet LTC1408 (Analog Devices) - 10
制造商
Analog Devices
描述
6 Channel, 14-Bit, 600ksps Simultaneous Sampling ADC with Shutdown
页数 / 页
20
/
10
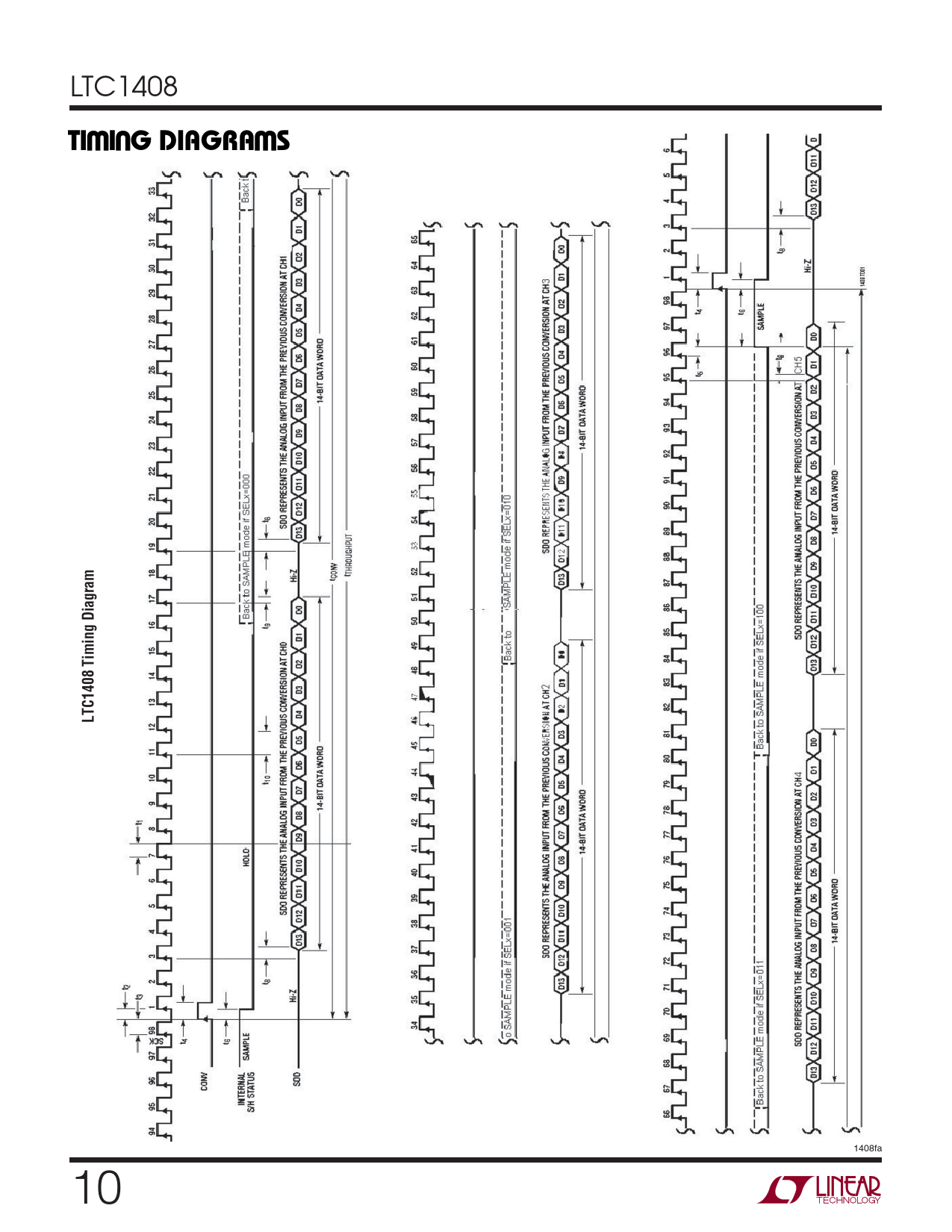
— TI I G DIAGRA S. LTC1408 Timing Diagram
文件格式/大小
PDF
/
513 Kb
文件语言
英语
TI I G DIAGRA S. LTC1408 Timing Diagram
1
2
3
...
8
9
10
下载 PDF
1
2
3
...
8
9
10
该数据表的模型线
LTC1408
LTC1408CUH#PBF
LTC1408CUH#PBF
LTC1408CUH#TRPBF
LTC1408CUH#TRPBF
LTC1408IUH#PBF
LTC1408IUH#PBF
LTC1408IUH#TRPBF
LTC1408IUH#TRPBF
文件文字版本
LTC1408
W
U
W
TI I G DIAGRA S
LTC1408 Timing Diagram
1408fa 10
联络人
隐私政策
更改隐私设置