Datasheet XL6009 - 3
| 描述 | 400KHz 60V 4A Switching Current Boost / Buck-Boost / Inverting DC/DC Converter |
| 页数 / 页 | 8 / 3 — XL6009. 400KHz 60V 4A Switching Current Boost / Buck-Boost / Inverting … |
| 文件格式/大小 | PDF / 250 Kb |
| 文件语言 | 英语 |
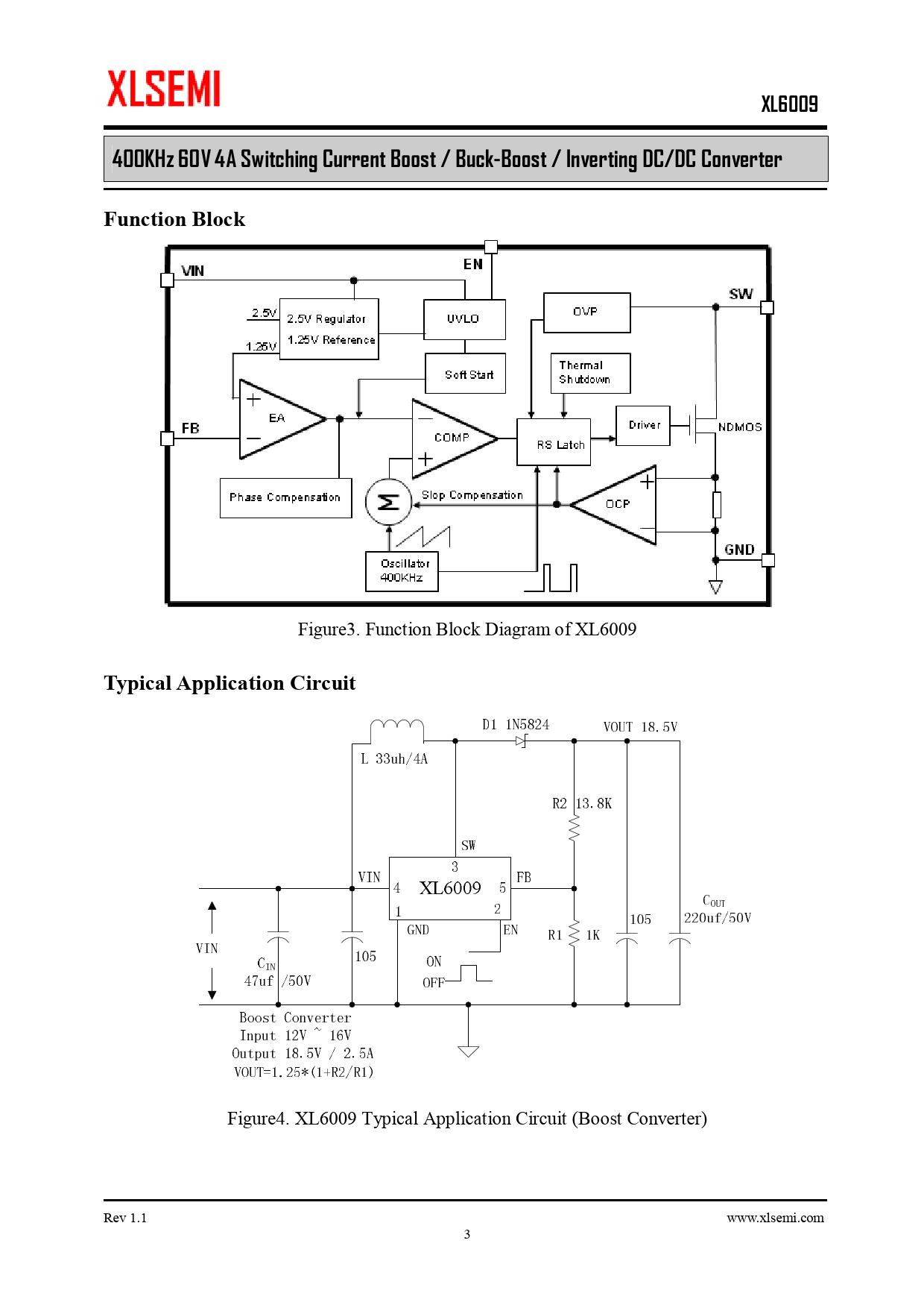
XL6009. 400KHz 60V 4A Switching Current Boost / Buck-Boost / Inverting DC/DC Converter. Function Block

文件文字版本
XL6009 400KHz 60V 4A Switching Current Boost / Buck-Boost / Inverting DC/DC Converter Function Block
Figure3. Function Block Diagram of XL6009
Typical Application Circuit
Figure4. XL6009 Typical Application Circuit (Boost Converter) Rev 1.1 www.xlsemi.com 3