Datasheet OP177 (Analog Devices) - 12
| 制造商 | Analog Devices |
| 描述 | Ultraprecision Operational Amplifier |
| 页数 / 页 | 17 / 12 — Data Sheet. OP177. 1kΩ. +15V. 0.1µF. 30pF. 1N4148. 2 –. OUT. 0 < V. … |
| 修订版 | H |
| 文件格式/大小 | PDF / 395 Kb |
| 文件语言 | 英语 |
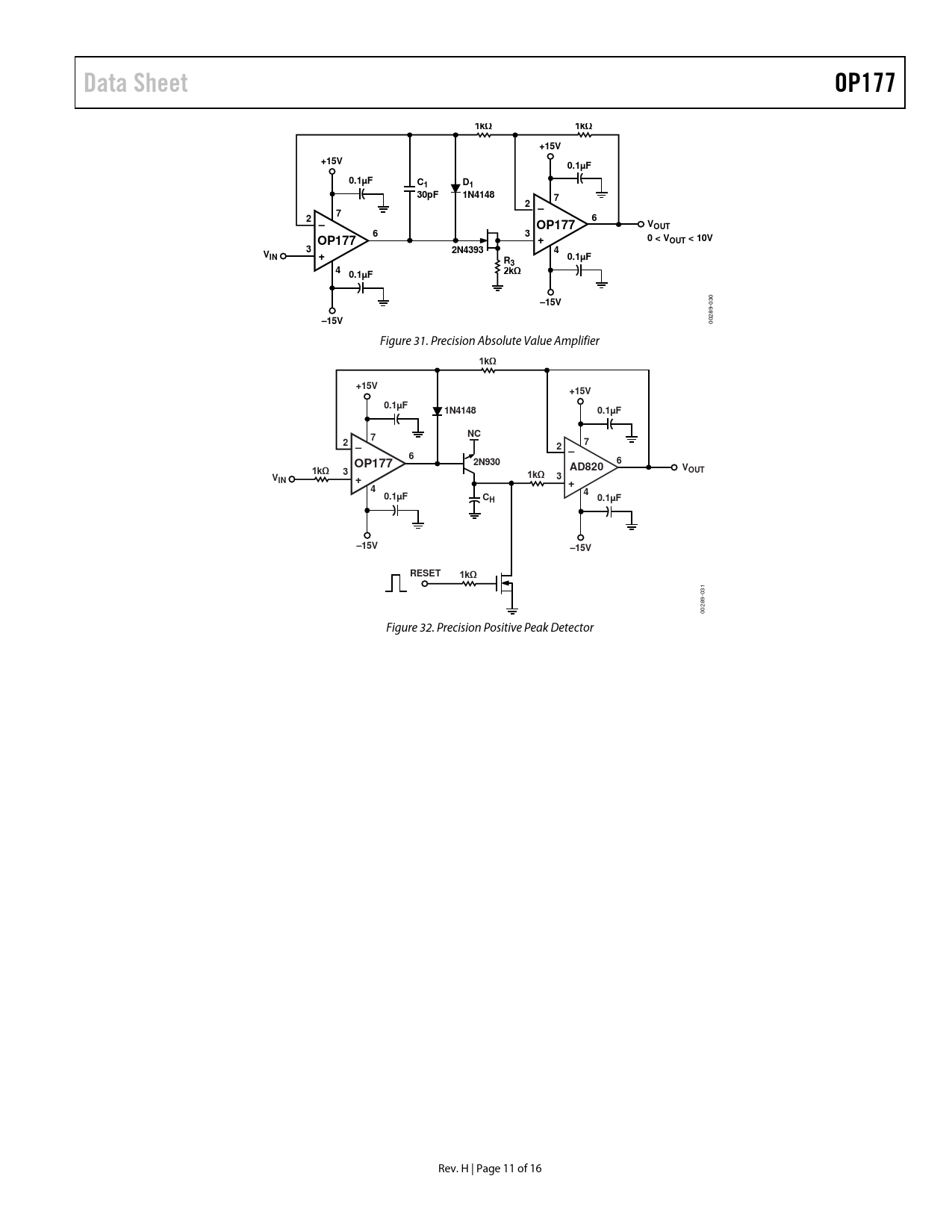
Data Sheet. OP177. 1kΩ. +15V. 0.1µF. 30pF. 1N4148. 2 –. OUT. 0 < V. OUT < 10V. 2N4393. VIN. 4 0.1µF. 2kΩ. –15V. 2N930. AD820. 1kΩ 3. RESET

该数据表的模型线
文件文字版本
Data Sheet OP177 1kΩ 1kΩ +15V +15V 0.1µF 0.1µF C1 D1 30pF 1N4148 7 2 – 7 2 6 – V OP177 OUT 6 3 0 < V OP177 + OUT < 10V 3 2N4393 4 VIN + 0.1µF R3 4 0.1µF 2kΩ –15V
030
–15V
00289- Figure 31. Precision Absolute Value Amplifier
1kΩ +15V +15V 0.1µF 1N4148 0.1µF 7 NC 2 2 7 – – 6 6 2N930 OP177 AD820 V 1kΩ 3 OUT V 1kΩ 3 IN + + 4 4 0.1µF CH 0.1µF –15V –15V RESET 1kΩ
031 00289- Figure 32. Precision Positive Peak Detector Rev. H | Page 11 of 16 Document Outline FEATURES PIN CONFIGURATION GENERAL DESCRIPTION FUNCTIONAL BLOCK DIAGRAM REVISION HISTORY SPECIFICATIONS ELECTRICAL CHARACTERISTICS TEST CIRCUITS ABSOLUTE MAXIMUM RATINGS THERMAL RESISTANCE ESD CAUTION TYPICAL PERFORMANCE CHARACTERISTICS APPLICATIONS INFORMATION GAIN LINEARITY THERMOCOUPLE AMPLIFIER WITH COLD-JUNCTION COMPENSATION PRECISION HIGH GAIN DIFFERENTIAL AMPLIFIER ISOLATING LARGE CAPACITIVE LOADS BILATERAL CURRENT SOURCE PRECISION ABSOLUTE VALUE AMPLIFIER PRECISION POSITIVE PEAK DETECTOR PRECISION THRESHOLD DETECTOR/AMPLIFIER OUTLINE DIMENSIONS ORDERING GUIDE