Datasheet TPD7110F (Toshiba) - 7
| 制造商 | Toshiba |
| 页数 / 页 | 20 / 7 — 7.7. State Transition Diagram. Reverse battery. Reverse current. VDD over … |
| 文件格式/大小 | PDF / 723 Kb |
| 文件语言 | 英语 |
7.7. State Transition Diagram. Reverse battery. Reverse current. VDD over voltage. VGS=L. Normal operation. ON state. OFF state. VGS=H

该数据表的模型线
文件文字版本
TPD7110F
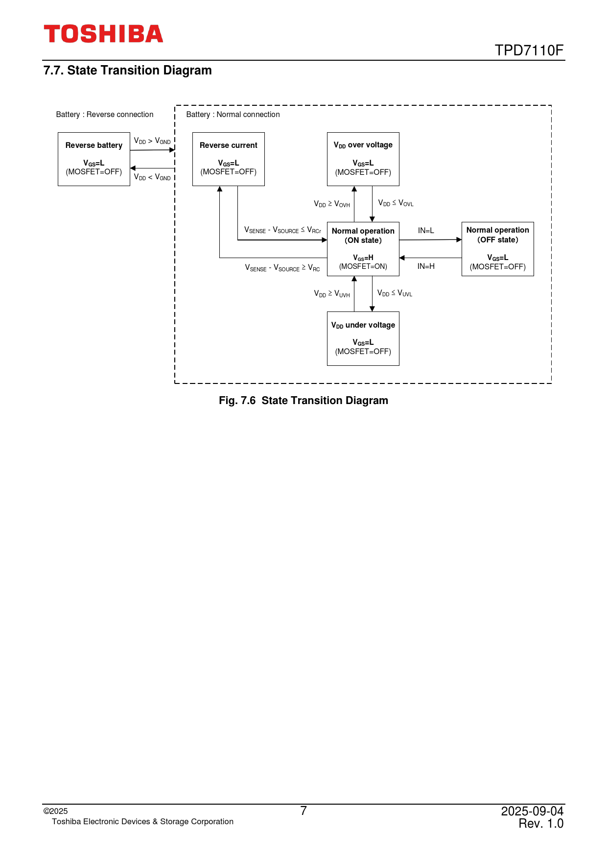
7.7. State Transition Diagram
Battery : Reverse connection Battery : Normal connection VDD > VGND
Reverse battery Reverse current VDD over voltage VGS=L VGS=L VGS=L
(MOSFET=OFF) (MOSFET=OFF) (MOSFET=OFF) VDD < VGND V VDD VOVL DD VOVH VSENSE - VSOURCE VRCr
Normal operation
IN=L
Normal operation
(
ON state
) (
OFF state
)
VGS=H VGS=L
(MOSFET=ON) V IN=H (MOSFET=OFF) SENSE - VSOURCE VRC V VDD VUVL DD VUVH
VDD under voltage VGS=L
(MOSFET=OFF)
Fig. 7.6 State Transition Diagram
©202 5 7 2025-09-04 Toshiba Electronic Devices & Storage Corporation Rev. 1.0